AWR2544 76-81GHz FMCW 卫星片上雷达传感器详解
1
拍明芯城
AWR2544 76-81GHz FMCW卫星片上雷达传感器详解
一、引言
在汽车电子技术飞速发展的当下,高级驾驶辅助系统(ADAS)已成为提升行车安全性和舒适性的关键技术。毫米波雷达作为ADAS系统的核心传感器之一,凭借其高精度、全天候工作等优势,在车辆检测、距离测量、速度监测等方面发挥着重要作用。AWR2544作为德州仪器(TI)推出的一款76-81GHz FMCW卫星片上雷达传感器,专为ADAS应用设计,集成了丰富的功能模块,具备出色的性能和可靠性,为汽车雷达系统的开发提供了强大的支持。本文将详细介绍AWR2544的各项特性、工作原理、应用场景以及开发要点等内容。

二、AWR2544概述
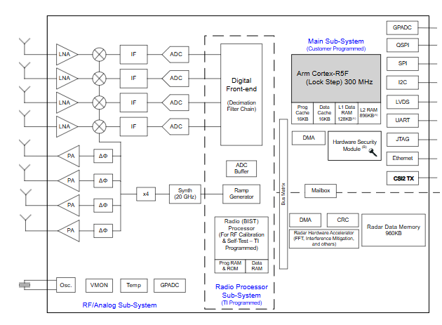
AWR2544是一款单芯片76-81GHz FMCW雷达片上系统(SoC),采用TI的低功耗45纳米RFCMOS工艺制造,在小型封装中实现了高集成度,集成了FMCW收发器、雷达数据处理元件以及一套丰富的车载网络外设。该器件旨在服务于不断发展的卫星飞行器架构,能够将接近原始的雷达传感器数据(压缩的1D FFT输出)通过高速接口发送到中央计算引擎,实现集中式数据处理,提高系统的整体性能和决策准确性。

三、功能特性
(一)FMCW收发器
频率范围与带宽:AWR2544的工作频率覆盖76-81GHz频段,拥有超过4GHz的可用带宽。较大的带宽为高精度的距离和速度测量提供了坚实基础,能够满足ADAS系统对目标检测的高精度要求。
通道配置:该器件配备了4个接收通道(RX)和4个发射通道(TX),并采用了封装上装载(LOP)天线接口。每个发射通道还带有一个移相器,可实现灵活的波束成形控制,能够根据不同的应用场景调整雷达波的发射方向和形状,提高目标检测的准确性和可靠性。
关键性能指标:发射功率达到+12.5dBm,接收噪声系数为+12.5dB。在相位噪声方面,76GHz至77GHz频段在1MHz时低至-96dBc/Hz,76GHz至81GHz频段在1MHz时低至-95dB/Hz。这些出色的性能指标保证了雷达系统在复杂环境下的信号质量,能够有效抑制噪声干扰,提高目标检测的灵敏度和准确性。
线性调频脉冲引擎:基于分数PLL的超精确线性调频脉冲引擎,能够生成高精度的线性调频信号,为雷达的精确测量提供了保障。
(二)处理元件
Arm Cortex-R5F内核:内置300MHz的Arm Cortex-R5F核心,支持锁步操作,提供了可靠的计算能力。该内核负责雷达系统的整体控制和数据处理,能够实时响应各种事件和指令,确保系统的稳定运行。
雷达硬件加速器(HWA1.5):配备了TI雷达硬件加速器HWA1.5,可处理快速傅里叶变换(FFT)、干扰抑制和内存压缩等运算。通过卸载这些常见的雷达处理任务,有效减轻了主处理器的负担,提升了系统的整体性能,为更复杂的算法实现和高级应用开发提供了资源支持。
数据移动引擎(EDMA):拥有多个EDMA实例,用于高效的数据移动和处理,保障了数据在各个模块之间的快速传输,提高了系统的实时性和响应速度。
(三)主机接口与通信
以太网接口:支持10/100/1000Mbps RGMII/RMII/MII以太网接口,能够提供高速的数据传输能力,方便将雷达数据快速传输到其他设备或系统进行进一步处理和分析。同时,还提供了25MHz时钟输出用于以太网PHY计时,确保以太网通信的稳定性和准确性。
串行闪存接口:支持从QSPI闪存加载用户应用,方便用户将自定义的程序和配置存储在外部闪存中,并在系统启动时加载到器件内部运行,提高了系统的灵活性和可扩展性。
其他接口:为用户应用提供了丰富的其他接口,包括多达4个ADC通道、1个SPI、2个UART、I2C、GPIO以及3个EPWM等。这些接口方便了AWR2544与其他外部设备的连接和通信,如传感器、显示器、控制模块等,满足了不同应用场景的需求。
(四)安全特性
硬件安全模块(HSM,部分型号具备):可编程的嵌入式硬件安全模块,支持经过身份验证和加密的安全引导。用户可编程根密钥、对称密钥(256位)和非对称密钥(最高RSA-4K或ECC-512),并具备密钥撤销功能。通过硬件安全模块,能够有效保护系统的数据安全和启动过程的安全性,防止未经授权的访问和恶意攻击。
加密硬件加速器:集成了多种密码硬件加速器,包括支持ECC的PKA、AES(最高256位)、SHA(最高512位)以及TRNG/DRBG等。这些加速器能够快速高效地完成各种加密运算,为系统的数据传输和存储提供安全保障,确保数据的保密性、完整性和真实性。
(五)功能安全与可靠性
功能安全合规性:专为功能安全应用开发,可提供使功能安全系统设计满足ISO26262标准的文档,硬件完整性目标可达ASIL B级,适用于对安全性要求较高的汽车应用场景。
自监控与自校准:具备嵌入式自监控功能,无需使用外部处理器即可实时监测自身状态。同时,针对工艺和温度进行自校准的系统,能够自动调整器件的工作参数,确保在不同环境条件下都能保持稳定的性能,提高了系统的可靠性和稳定性。
多种监测和诊断机制:包括MSS R5F核心的锁步操作、上电时的LBIST和PBIST测试、内存的端到端ECC校验、时钟监测、RTI/WDT看门狗、MPU内存保护、外设SRAM的PBIST和ECC诊断、配置寄存器保护、循环冗余校验(CRC)、MPU对内存和DMA的访问控制以及互连ECC保护等。这些机制可以检测和纠正系统中的各种故障,确保主系统的稳定运行,提高了系统的容错能力和可靠性。
(六)电源管理
内置LDO网络:芯片内集成了低压差线性稳压器(LDO)网络,增强了电源抑制比(PSRR),能够有效抑制电源噪声对器件性能的影响,提高系统的稳定性和可靠性。
多电压支持:LVCMOS IO支持3.3V和1.8V双电压,可灵活选择,满足不同应用场景对电源电压的需求,方便与其他设备进行接口连接。
推荐电源管理IC:推荐使用LP8772-Q1电源管理集成电路(PMIC),该PMIC专为满足AWR2544的电源供应要求而设计,具有灵活的映射和工厂编程配置,可支持不同的应用场景,有助于实现低成本的硬件设计,同时提供稳定的电源供应,确保器件的正常工作。
(七)封装与工作温度
封装尺寸:采用0.65mm间距、12.4mm×12mm的FCCSP封装,尺寸小巧,便于在汽车电子系统中进行布局和安装,节省了宝贵的空间资源。
工作温度范围:支持汽车运行温度范围,工作结温范围为-40°C至+140°C,能够在恶劣的环境条件下正常工作,满足汽车应用对器件可靠性和稳定性的严格要求。
四、工作原理
(一)FMCW雷达基本原理
FMCW雷达通过发射连续变化的频率信号(线性调频信号),并接收目标反射回来的信号,通过比较发射信号和接收信号的频率差异来计算目标的距离、速度和角度等信息。当发射信号遇到目标后反射回来,由于目标与雷达之间存在一定的距离,接收信号相对于发射信号会产生一个时间延迟,这个时间延迟对应着目标的距离。同时,如果目标相对于雷达有运动,接收信号的频率会相对于发射信号产生多普勒频移,通过分析这个频移可以计算出目标的速度。通过多个接收通道接收不同方向的反射信号,并结合波束成形技术,还可以确定目标的角度信息。
(二)AWR2544工作流程
信号发射:AWR2544的FMCW收发器中的发射通道在Arm Cortex-R5F内核的控制下,根据预设的参数生成线性调频信号,并通过天线发射出去。发射信号的频率按照一定的规律随时间变化,形成一个调频斜坡。
信号接收与处理:当发射信号遇到目标后反射回来,被接收通道接收。接收信号与发射信号在混频器中进行混频,得到中频(IF)信号。中频信号包含了目标的距离和速度信息。然后,中频信号经过基带处理和模数转换(ADC),将模拟信号转换为数字信号。
数字信号处理:数字信号被送入Arm Cortex-R5F内核和雷达硬件加速器(HWA1.5)进行处理。HWA1.5首先对数字信号进行快速傅里叶变换(FFT),将时域信号转换为频域信号,从而得到目标的距离信息。接着,通过对多普勒维度的FFT处理,得到目标的速度信息。同时,利用多个接收通道的数据,通过波束成形算法计算目标的角度信息。
数据传输与决策:处理后的目标信息通过以太网接口或其他接口传输到中央计算引擎或其他相关设备。中央计算引擎根据接收到的雷达数据,结合其他传感器的信息,进行综合分析和决策,如判断是否存在碰撞危险、是否需要触发自动紧急制动等,并向车辆的执行机构发出相应的控制指令,实现ADAS功能。
五、应用场景
(一)车道变换辅助
在驾驶员进行车道变换操作时,AWR2544雷达传感器能够精确检测车辆侧后方的目标物体,实时监测周围车辆的行驶状态和距离。当检测到有车辆靠近或存在碰撞危险时,及时向驾驶员发出警示信息,提醒驾驶员注意安全,避免因视线盲区或判断失误导致的车道变换事故。
(二)盲点检测
AWR2544可以实时监测车辆盲区内的其他车辆或障碍物。在车辆行驶过程中,盲区是驾驶员视线无法直接覆盖的区域,容易发生碰撞事故。通过在车辆侧面安装AWR2544雷达传感器,能够持续监测盲区内的情况,当有目标进入盲区时,立即向驾驶员发出提醒,增强行车安全性。
(三)自动紧急制动(AEB)
该传感器能够快速准确地测量前方车辆或障碍物的距离和速度。在紧急情况下,当系统检测到即将发生碰撞且驾驶员未及时采取制动措施时,自动触发制动系统,使车辆迅速减速或停止,减少碰撞的可能性或降低碰撞的严重程度,有效保护驾乘人员的生命安全。
(四)自适应巡航控制(ACC)
AWR2544可自动调整车辆的速度,与前方车辆保持安全的跟车距离。在高速公路等场景下,驾驶员只需设置好期望的跟车距离和速度,系统就会根据前方车辆的行驶情况自动调整车速,实现自适应巡航。这不仅提高了驾驶的舒适性,还能减少驾驶员的疲劳,同时通过保持安全距离,降低了追尾事故的风险。
(五)侧向来车警示
在车辆倒车或低速行驶时,AWR2544能够检测后方交叉路口的来车情况。当有车辆从侧面接近时,及时发出警报,提醒驾驶员注意避让,避免在倒车或转弯过程中发生碰撞事故,特别是在停车场等复杂环境中,该功能能够有效提高倒车的安全性。
六、与其他产品对比优势
(一)与AWR2944对比
天线接口优势:AWR2544具备Launch on Package(LOP)天线功能,方便直接在封装上连接天线,简化了天线设计和布局,降低了系统复杂度和成本。而AWR2944可能需要采用传统的天线连接方式,在设计和安装上相对复杂。
部分性能指标优势:在某些关键性能指标上,AWR2544表现出色。例如,其最大中频(I/F)可达20MHz,最大实/复2x采样率为45Msps,为信号处理提供了更丰富的数据,有助于提高雷达的检测精度和分辨率。
安全特性优势:部分型号的AWR2544配备硬件安全模块(HSM)和安全加速器,增强了系统的安全性,满足了汽车应用对数据安全和认证的严格要求。相比之下,AWR2944在安全特性方面可能没有如此全面的配置。
(二)与AWR2243、AWR1843等对比
集成度与功能丰富度:AWR2544作为一款专为卫星架构设计的雷达传感器,集成了更多的功能模块,如高速以太网接口、丰富的外设接口、强大的硬件加速器等,能够满足卫星架构下对数据传输和处理的高要求。而AWR2243、AWR1843等产品在集成度和功能丰富度上可能相对较低,更适合一些对成本和复杂度要求较低的应用场景。
性能提升:在频率范围、带宽、发射功率、接收灵敏度等关键性能指标上,AWR2544通常具有更好的表现,能够提供更精确的目标检测和测量能力,适应更复杂的驾驶环境和更高的ADAS功能要求。
七、开发要点
(一)电源设计
电源轨要求:AWR2544需要多个电源轨,包括1.8V、1.0V、3.3V和1.2V等。电源的稳定性和纹波控制对器件的性能至关重要。在设计电源时,要确保各个电源轨的电压精度和稳定性满足器件的要求,避免因电源波动导致器件性能下降或出现故障。
上电顺序和复位时序:注意电源的上电顺序和复位时序,确保所有外部电压轨和SOP[4:0]线在NRESET释放之前稳定。正确的上电顺序和复位时序是保证设备成功启动和正常运行的关键,否则可能会导致器件无法正常工作或出现不可预测的错误。
电源管理IC选择:推荐使用LP8772-Q1 PMIC,它能够提供符合要求的电源供应,并通过合理的滤波设计,降低电源纹波对射频性能的影响。同时,该PMIC具有灵活的映射和出厂编程配置,可支持多种不同的用例,有助于简化电源设计,提高系统的可靠性和稳定性。
(二)时钟设计
时钟源选择:外部晶体或时钟源的选择和设计对器件的性能影响很大。如果使用晶体,需要根据晶体制造商的规格选择合适的负载电容,以满足晶体的振荡条件。同时,要注意晶体和相关离散组件应尽可能靠近振荡器的CLKP和CLKM引脚,以减少布线寄生电容的影响,确保时钟信号的稳定性和准确性。
时钟相位噪声要求:若使用外部时钟,需要满足特定的相位噪声要求。相位噪声是衡量时钟信号质量的重要指标,过高的相位噪声会导致雷达系统的测量误差增大,影响目标检测的准确性。因此,在选择外部时钟源时,要确保其相位噪声指标符合AWR2544的要求。
(三)接口设计
以太网接口:在使用以太网接口时,需要根据不同的速度模式(10Mbps/100Mbps/1Gbps),满足相应的时钟和数据时序要求。正确的时序设计是保证以太网通信稳定可靠的关键,否则可能会导致数据传输错误或通信中断。
QSPI接口:在使用QSPI接口进行外部闪存访问时,需要满足特定的时序条件和负载要求,以确保数据传输的准确性和稳定性。时序条件包括时钟频率、数据建立时间和保持时间等,负载要求则涉及到闪存芯片的电气特性。在设计时,要仔细参考AWR2544和闪存芯片的数据手册,进行合理的电路设计和参数配置。
其他接口:对于其他接口,如SPI、UART、I2C等,也要根据相应的协议规范进行设计和配置,确保接口能够正常工作,实现与其他设备的数据通信和控制。
(四)天线设计
LOP天线优势利用:由于AWR2544具备LOP天线功能,在设计天线时,可以充分利用这一优势,采用与LOP接口兼容的天线设计方案。例如,可以选择专为LOP接口设计的3D波导天线,这种天线具有高传输功率、高接收灵敏度和高隔离度等优点,能够提高雷达系统的整体性能。
天线布局与匹配:合理布局天线,确保天线与雷达传感器之间的信号传输良好。同时,要注意天线的匹配设计,使天线的阻抗与雷达传感器的输出阻抗相匹配,以减少信号反射,提高信号传输效率。此外,还要考虑天线在不同环境条件下的性能稳定性,确保在各种工况下都能正常工作.
责任编辑:David
【免责声明】
1、本文内容、数据、图表等来源于网络引用或其他公开资料,版权归属原作者、原发表出处。若版权所有方对本文的引用持有异议,请联系拍明芯城(marketing@iczoom.com),本方将及时处理。
2、本文的引用仅供读者交流学习使用,不涉及商业目的。
3、本文内容仅代表作者观点,拍明芯城不对内容的准确性、可靠性或完整性提供明示或暗示的保证。读者阅读本文后做出的决定或行为,是基于自主意愿和独立判断做出的,请读者明确相关结果。
4、如需转载本方拥有版权的文章,请联系拍明芯城(marketing@iczoom.com)注明“转载原因”。未经允许私自转载拍明芯城将保留追究其法律责任的权利。
拍明芯城拥有对此声明的最终解释权。

产品分类

2012- 2022 拍明芯城ICZOOM.com 版权所有 客服热线:400-693-8369 (9:00-18:00)